Плотномеры цена в МЕТТЛЕР ТОЛЕДО :: ПВ.РФ
Для заметок к лекции№ 9
2.5 Плотномер для измерения плотности с использ...
Измерение плотности - Системы управления технол...
Плотномер ВИП-2МР TERMEX купить в Казахстане | ...
Плотномер. Большая российская энциклопедия
Плотномеры СУГ | АО АвиаТех - Разработка и прои...
Плотномеры
3. Гидростатические плотномеры
Прибор для непрерывного измерения плотности пул...
Плотномер ДПУ
Плотномеры нефтепродуктов | АО АвиаТех - Разраб...
Переносные плотномеры | АО АвиаТех - Разработка...
Плотномер типа ПС-1 для определения насыпной пл...
ПЛОТНОМЕР “ПЛОТ-3Б-1Р" – купить в Ванаваре, цен...
Плотномер - Энциклопедия по машиностроению XXL
Поверка вибрационного плотномера на газе | Пере...
Методы измерения плотности нефти Автоматические...
Переносные плотномеры нефтепродуктов | АО Авиат...
Плотномер для нефтепродуктов. Цена | «Oil Systems»
Плотномеры в Челябинске купить
Средства технологических измерений плотности жи...
Плотномер для нефти и нефтепродуктов: плюсы, пр...
Плотномеры TERMEX
China Плотномер-концентрометр для трубопровода ...
Купить цифровой плотномер для порошковой металл...
Плотномер
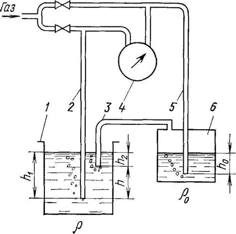
Пьезометрический плотномер дифференциального ти...
Рейтинг плотномеров - лучшие товары в 2025 году...
Плотномер ПЛОТ-3Б-1П для нефтепродуктов купить ...
Плотномер для песка LIYA. Купить у дилера!
Компания Диамас - Анализ масел, смазок и топлив...
Прибор для определения плотности твердых тел