Ниву не спасли: продажа внедорожников Lada 4x4 ...
Pin by Радик Каримов on niva | Vehicles, Classi...
Новая нива /Нива Тревел #автомобили #нива #нова...
NIVA слаба на передок :} НИВА осталась без пере...
Нива шевроле замена привода спидометра - 82 фото
Chevrolet Niva - расход топлива Шевроле Нива, к...
6 - новые нивы фото
Постоянный Полный Привод Нивы - YouTube
ваз 2121 нива привода хруст) - YouTube
Нива 4х4 тест-драйв по снегу. LADA NIVA off-roa...
#niva #нива #niva4x4 #нива4х4 #lada #лада #lada...
Chevrolet Niva (Шевроле Нива)
Нива Юбилейный тест-драйв. 4x4 NIVA обзор - You...
Niva удивление. Трансмиссионное масло в новой "...
Редуктор переднего моста НИВЫ крепится к кузову...
Усиленные передние привода Нива "Туризм" ИЖ Тех...
Стилни блатни завоеватели по градските улици: 1...
нива - YouTube
Нива - YouTube
НИВА! Которая не нуждается в представлении! - Y...
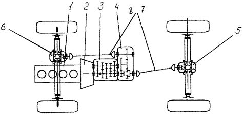
Схема привода нива шевроле
Моторы от иномарок и не только, которые встанут...
моя НИВА - Главная
#нива - YouTube
Pin by Serg on Нива | Niva, Offroad, Suv
Лада Нива - YouTube
передние привода Нива
Шевроле нива схема полного привода
Автомобиль Нива, какая модификация лучше?
Нива Тревел /Начало приключений #ниватревел #ни...
Привода усиленные в сборе Нива 2123 (на трипоид...
Легендарная «Нива» отмечает 40-летие
Усиленные передние привода Нива (Niva) «Спорт»
Niva Lada 4x4. Порван ремень генератора на трас...