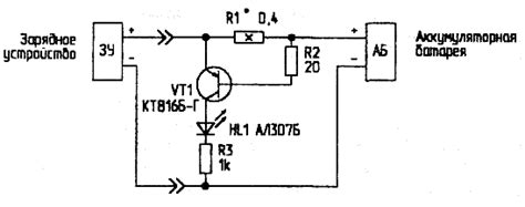
Схема индикатора тока заряда
Индикатор напряжения и тока цифровой схема подк...
Для постоянного тока 7-68 В 12 В 24 В 48 В 60 В...
Умный индикатор напряжения HT89, детектор напря...
Цифровой дисплей электричество Герц метр частот...
2. Индикатор тока.
Светодиодный индикатор для автомобиля и мотоцик...
Цифровой мультиметр, тестер с индикатором напря...
Лучшие индикаторы напряжения - для электромонта...
Индикатор напряжения на светодиодах своими рука...
22 мм светодиодный цифровой дисплей Вольтметр в...
Индикатор тока и напряжения в розетке в 2024 г ...
Цифровой индикатор напряжения
Индикатор напряжения и тока в розетке | Розетки...
Цифровой индикатор напряжения переменного тока ...
Индикатор наличия тока | Мастер-класс своими ру...
Панели индикации напряжения и тока — купить по ...
Индикатор напряжения цифровой вольтметр 0...30В...
Индикатор тока и напряжения в розетке - radiosc...
Индикатор напряжения. 👉Полезная функция. Обзор ...
Как сделать индикатор наличия тока - YouTube
Индикаторы тока и напряжения. - YouTube
Регулируемый лабораторный блок питания с цифров...