Реле производительности насоса РПН.1М от произв...
Схема подключения реле насоса
Купить РЕЛЕ, РЕЛЕ НАСОСА 230 В 1 /4 '': отзывы,...
Распиновка реле топливного насоса - Электротехн...
Схема подключения скважинного насоса с реле дав...
Настройка реле давления насоса - YouTube
реле производительности насоса РПН.1М хранение....
Автоматика для насоса: фото, видео, виды, прави...
Электронное реле давления для насоса схема
Реле давления воды электронное с плавным пуском...
Реле протока воды для насоса: характеристики и ...
Реле напора – Реле давления воды для насоса
Реле давления воды электронное для насоса G1/2"...
Принцип работы реле давления для насоса
Реле включения насоса для водоснабжения
Реле топливного насоса – Как проверить и замени...
Реле сухого хода (датчик) для насоса: принцип р...
Как отрегулировать реле давления насосной станц...
Реле для Насоса – купить в интернет-магазине OZ...
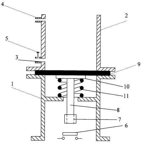
RU64359U1 - Реле производительности насоса - Go...
Как работает реле давления для насосной станции...
Купити 220V 10Bar реле тиску насоса реле тиску ...
Подключение насоса через реле
Реле сухого хода для насоса: как настроить, под...
Комплект реле тиску води для насоса механічне K...
Купить Электронное реле давления воды Rosa DSK-...
Комплектующие для насосов TiM Реле давления - к...
Реле давления воды для насоса: установка своими...
Реле насоса скважины как его регулировать