Сумматоры—делители мощности для антенн
ДЕЛИТЕЛИ / Делители натуральных чисел/ КАК НАЙТ...
Делитель/сумматор 70/140 МГц 1/4 BNC ТИШЖ.46852...
Практические рекомендации Sun Hydraulics. Делит...
Универсальный активный делитель/сумматор 1/16 У...
Делители потока гидроклапаны (гидравлические кл...
Делители / сумматоры потока
Сумматоры. Классификация - презентация онлайн
Расскажем о Сумматор что это такое
Делители-сумматоры потока гидроклапаны (гидравл...
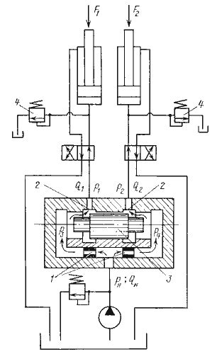
6.6. Делители (сумматоры) потока
Делители / Сумматоры мощности | Qualwave
Таблица делителей Table of divisors
Делитель/сумматор L-диапазона 1/2 N ТИШЖ.468523...
Делители-сумматоры потока. Поставки по Украине ...
2-Х КАНАЛЬНЫЕ ДЕЛИТЕЛИ/СУММАТОРЫ МОЩНОСТИ | ООО...
Полосковые делители и сумматоры мощности
Активный делитель/сумматор L-диапазона 1/24 ТИШ...
Делитель/сумматор L-диапазона 1/4 N ТИШЖ.468523...
Делитель/сумматор 240-320 МГц 1/2 ТИШЖ.468523.0...
Делитель/сумматор 1/4 диапазона ДII ТИШЖ.468523...
Полосковые делители-сумматоры
Что такое делитель в математике 3: определение ...