Купить Новая вода фильтр 3 стадии фильтр картри...
Купить Внешние фильтр фильтр 1000 л/ч 3-ступенч...
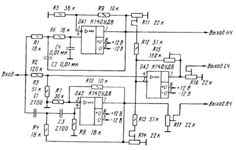
Кроссовер 3-х полосный. Фильтр частотный, 150 W...
ᐈ ФИЛЬТР AQUAFILTER FP3-K1 — проточный фильтр п...
Фильтр для пылесоса 3M (Тип1, тонкой очистки)
Фильтры полосовые, кварцевые и иные...
Фильтр погружной грубой очистки воды с елочкой ...
Фильтр пластиковый дисковый линейный 1 1/2"(40м...
тест звучания пассивного фильтра 3 полосной аку...
филтърна колона 10' 1/2 цола 3 части к-т - ФИЛТ...
Фильтр для капельной линии 3/4 дюйма / Защита о...
Купить Фильтр косой 3/4" (c заглушкой). Низкие ...
Система фильтрации HF-A2-3-3 (130mk) -(Дисковые...
Купить Фильтр 1. 2 дюйма 2. 5-дюймовый 3-дюймов...
Трехступенчатый фильтр под мойку Aquafilter FP3...
Фильтр для тонкой фильтрации, из нержавеющей ст...
Филтри за вода TITAN 3 x 7" с 1" в ред за механ...
Проточный фильтр Aquafilter FP3-2 – фото, отзыв...
система филтърни колони тройна 3/4" - ФИЛТРИ ЗА...
филтърна колона 10 инча, 3/4 цола 10 бара - ФИЛ...
Фильтр косой 3/4" лат. 500 mic itap - купить в ...
Система "Престиж" 1. Фильтр грубой очистки 2. А...
Купить Фильтры Сетчатый фильтр Инструмент для д...
Филтърна колона с PVC мрежест филтър EcoSoft, 3...
филтърна колона, комплект с механичен филтър за...
Фильтр для 3-х полосных УЗЧ — rcl-radio.ru
филтърна колона 10 инча, 3/4 цола 6 бара - ФИЛТ...
1-36 Фильтр Три Кита
ᐉ Фильтр для воды Aquafilter FP3-2 с тройной оч...
филтри за вода с активен въглен - карбонови фил...