Я-112 А (аналог Я112А, Я112А1, 41.3702, 4302.37...
Купить регулятор напряжения я112а ГАЗ, ЗИЛ, ПАЗ...
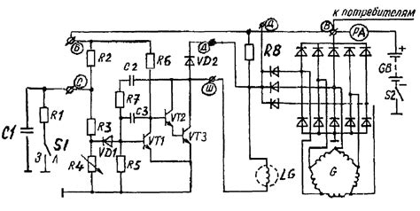
Схема подключения регулятора напряжения Я112А -...
Схема регулятора напряжения я112б1
Доработка реле-регулятора Я112А (зима-лето) | М...
Я112а схема подключения к трансформатору - 85 фото
JA112A | Airbus A321-211 | All Nippon Airways (...
Реле-регуляторы Я112А Я112В.Отличия.Взаимозамен...
Распиновка реле регулятора камаз - Электротехни...
Я112а регулятор напряжения схема подключения
Я112А - Музей электронных раритетов
Схема подключения реле регулятора я112а
Купити Регулятор напруги Я112А електрообладнанн...
Как подключить реле я112а
Я112А1 14В (Энергомаш)` Регулятор напряжения ин...
Схема подключения я112а
Схема подключения реле я112а