Блок подпружиненный опорный Barton Marine серия...
УСТРОЙСТВО УДАЛЕНИЯ СОСУЛЕК И НАЛЕДЕЙ
Что такое радиально упорный подшипник
Упорные подшипники. Особенности применения. Обл...
ЭС2Г Автоматическая сцепка
2.3.3. Клиновые затворы и их приводы
УПОРЫ И КОМПЕНСАТОРЫ - Водоснабжение
Упоры | PRO-TechInfo
Подшипники скольжения упорные | ООО «ТРИЗ»
Точильная система Ruixin PRO RX009 в кейсе c бр...
Подпружиненный центр для токарных станков - Чер...
Упорные подшипники| Монтаж, установка | Prom-ko...
Выбор пружинных опор
Водоснабжение. Проектирование систем и сооружен...
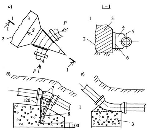
Скачать Серия 3.001.1-3 Упоры для наружных напо...
Упорные подшипники скольжения - Inzhener-Info
Опорные элементы и зажимные механизмы приспособ...
Индивидуальные подпружиненные линейные потенцио...
Стабилизирующее устройство
Радиально-упорный подшипник | Главный механик
Упоры штампов. Типы упоров. Упоры для вытяжных ...
Подпружиненные контакты и особенности их примен...
RU16856U1 - Опорный подпружиненный каток - Goog...
RU64683U1 - Насос-дозатор гидравлический - Goog...
Упор транспортировочный подпружиненный: продажа...
Упорные подшипники презентация, доклад
Пружины для подвесок и опор трубопроводов купить
Ремонт крышек люков полувагонов | Курсовые проекты
7. Обработка ступенчатых валов
Altendorf в деталях: виды упоров на Altendorf F45