Как установить дополнительный насос отопителя н...
Насос дополнительный ГАЗель, Соболь 12В - TRUCK...
Патрубок ГАЗель Next: единство и надежность сис...
Запчасти для системы охлаждения Газель Некст| К...
Насос водяной ГАЗ: "сердце" системы охлаждения ...
Помпа водяная (насос) охлаждения, дополнительны...
Система охлаждения двигателя ГАЗель Next 4.6т. ...
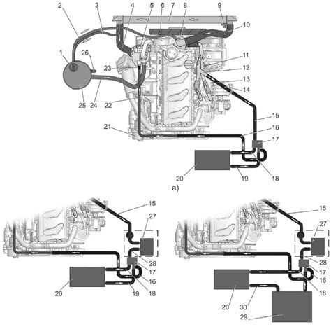
Особенности системы охлаждения ГАЗель Некст
Насос отопителя дополнительный помпа ГАЗ, УАЗ d...
Насос дополнительный для ГАЗ, УАЗ, Газель-Бизне...
Насос Отопителя Газель – купить в интернет-мага...
Насос дополнительный отопителя печки газель 18м...
ХОЛОДНАЯ ПЕЧКА?! поставь ДОПОЛНИТЕЛЬНЫЙ НАСОС э...
Насос дополнительный Газель-Бизнес купить в Мос...
Мотор Отопителя (насос) Дополнительный Ф16 Газе...
Насос отопителя газель бу — купить по низкой це...
Система охлаждения двигателя ГАЗель Бизнес. | А...
Замена дополнительного насоса отопителя и "Вопр...
Насос системы охлаждения дополнительный (под то...
Насос дополнительной печки газель 18мм 12В - TR...
Дополнительная электропомпа насос системы охлаж...
Дополнительный насос на охлаждение — ГАЗ Газель...
Дополнительный насос на газель: 8 500 тг. - Авт...
Насос топливный ГАЗель Next электрический погру...
Установка дополнительного насоса в систему охла...
Дополнительный насос отопителя OEM Газель УАЗ d...
Дополнительный насос отопителя ГАЗель, Соболь, ...
Мотор Отопителя (насос) Дополнительный Ф18 Газе...
Электронасос (насос дополнительный) отопителя с...
Как подключить дополнительный насос на печку га...
Дополнительный насос отопителя печки (доп помпа...