Реле времени: устройство, виды, принцип работы
Реле времени программируемое Новотек РВИ -1М
Таймер реле времени на DIN-рейку 20 А 220 В (id...
Электронное программируемое на 7 дней цифровое ...
Реле времени циклическое (таймер включения выкл...
Реле времени, виды, маркировка, назначение и пр...
Реле времени на дин рейку, фотореле - купить по...
Реле времени программируемое 220 В на дин-рейку...
Таймер на din-рейку, цифровое еженедельное прог...
Реле времени, программируемое реле и профит - Y...
Таймер реле времени на DIN-рейку 16 А 220 В в А...
Реле времени с задержкой на отключение на дин р...
Реле времени программируемое суточное - YouTube
Схема подключения реле времени на дин рейку схема
Алгоритмы работы реле времени
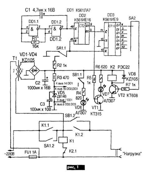
МНОГОПРЕДЕЛЬНОЕ РЕЛЕ ВРЕМЕНИ | МОДЕЛИСТ-КОНСТРУ...
Купить Реле времени TCH15A на дин рейку програм...
Реле времени: схема работы, разновидности, подк...
Программное реле времени - Энциклопедия по маши...
Реле времени программируемое 220 – Telegraph
Цифровое реле времени на 7 дней, 220 В, 230 В, ...
Изучение принципов работы реле времени
Реле времени с задержкой включения и выключения...
Реле времени на дин рейку купить | Ремонт и стр...
Реле времени повышенной мощности на DIN-рейку в...
Программируемое реле времени на ДИН-рейку | Шко...
Реле времени на дин рейку схема подключения
Купить Реле времени на DIN рейку многофункциона...
Реле часу 30А, реле времени, таймер на Din дин ...
Как собрать реле времени своими руками – radioc...
Принцип работы и виды реле времени – Telegraph
Программируемый таймер | Relay, Automation, Timer
Программируемые реле времени