Устройство фундамента под опору трубопровода. У...
Купить заливку фундамента опоры для ручной конс...
Фундамент под опоры ЛЭП на винтовых сваях, цена...
Монтаж закладных деталей фундамента для опор ос...
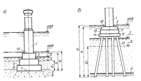
Основные понятия и классификация оснований и фу...
Опоры для фундаментов: как выбрать и рассчитать...
Винтовые сваи — оптимальное решение для фундаме...
Материалы для столбчатого фундамента: бетон, оп...
Устройство фундамента под опоры освещения
Виды фундаментов для дома
Методические рекомендации «Методические рекомен...
Закладная деталь фундамента опоры: особенности ...
Регулируемые опоры для фундамента - фото
Опалубка для фундамента своими руками
Установка фундамента и железобетонных опор для ...
Устройство фундамента для промежуточной опоры П...
Фундамент для опоры освещения, установка, стоим...
Столбчатые фундаменты: СНиП и ГОСТ правила стро...
Металлические регулируемые опоры, винтовые мета...
Устройство опалубки фундаментов | Mensh.ru
Бетонные опоры для фундамента: Бетонные фундаме...
Закладная деталь фундамента опоры — фотогалерея...
Фундамент под марки опор
Фундамент под металлическую опору освещения
Фундаменты для опор, анкерные закладные, анкерн...
Опоры освещения граненые, кронштейны для опор -...
Способы установки железобетонных опор
Фундамент по способу изготовления